提車秀|9.5米后翻自卸半掛批量交付荊門周總!
發布日期:2019-10-31 03:16:42 編輯:歐陽華俊 瀏覽量:1919受新政策的影響,后翻、側翻自卸半掛車今年市場需求特別火爆,新型自卸式半掛車不同于傳統的平板自卸式半掛車,先上戶后裝廂,而是直接帶箱子去上戶,荊門周總在歐陽華俊訂購的3臺9.5米后翻自卸半掛車如期交付,奔赴財富大道!
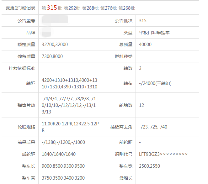
此后翻自卸半掛的尺寸為:9.5米長×2.55米寬×60公分墻板高,是目前唯一符合國家工信部要求的后翻自卸車型,不像平板后翻會面臨被查改型的弊端,也不像標車側翻對卸貨場地有局限要求,所以上路比較省心。
--資質合法手續正規--
此車有不同的長度與寬度可以選擇,方便用戶根據實際需求靈活配置,總質量40噸,輕拉快跑,卸貨安全,運輸效率高,不用擔心被相關部門查改型,省心、省事、省錢,很多客戶已經在荊門順利上戶!
真材實料的高強鋼材,先進嚴謹的制造工藝,選用知名大牌廠商配件,讓您買的放心,用的安心。
經過多年的發展,湖北歐陽華俊專用汽車有限公司已初具規模,引起業內外廣泛矚目。在發展之路上,歐陽華俊將繼續以市場為導向,苦練內功,在產品研發上孜孜不倦、精益求精,以創新謀發展,以質量求生存,傾力打造讓卡友值得信賴的半掛車品牌。
訂車熱線:13367109288,13396117366
華俊官網:http://www.028njlm.com/
公司地址:湖北省棗陽市興隆優良河工業園
